Кормушки и поилки для кроличьих клеток
Чтобы облегчить уход за домашними питомцами, стоит продумать удобную подачу им корма и воды. Существует много разных конструкций, как кормушек, так и поилок. Их можно приобрести в готовом виде или даже сделать самостоятельно.
Поилки
Кролики нуждаются в большом количестве чистой воды и если ее наливать в миску, не закрепленную на определенной высоте, то в нее будет попадать различный мусор или, того хуже, кролик, наступив в нее лапой, просто ее опрокинет и разольет воду.
Очень важно определиться с выбором материала, из которого будут изготовлены поилки. Например, если установить изделия из тонкого пластика, то они не прослужат длительное время, так как кролики их погрызут
В металлических банках вода будет быстро загрязняться и мутнеть. Поэтому бывалые кролиководы разработали несколько несложных конструкций, которые позволяют постоянно обеспечивать животных необходимым количеством воды.
Автоматические поилки
Этот вид поилки часто применяется как на больших фермах, так и в маленьких придомовых хозяйствах. Конструкция этой поилки состоит из миски, соединенной с емкостью, наполненной водой. Причем, миска находится в клетке, а емкость расположена снаружи, поэтому ее легко пополнять новыми запасами свежей воды.
Принцип работы таких приспособлений достаточно прост — по мере того, как из миски вода будет убывать, в нее из емкости будет поступать новая порция жидкости. В этом случае срабатывает поплавковая система — воды в миске остается мало, поэтому в емкости открывается установленный в ней клапан и поилка пополняется водой. Такую поилку сделать самостоятельно достаточно сложно, но ее можно приобрести в готовом виде.
Питание кроликов

Кролиководы кормят зверьков три или два раза в сутки. В условиях дикой природы животные едят 40-80 раз в день. Трёхразового кормления им может быть недостаточно. Кролики, живущие в клетках по методу Михайлова, могут питаться, когда захотят. Доступ к корму есть в любое время.
Комбикормушка для простого корма
Комбикормушка должна находиться вблизи от поилки. Это устройство с выдвижной полкой. Оно расположено в отверстии между настилом. На полке оседают крошки от корма. Нужно окружить ёмкость небольшим порогом: так кролики её не перевернут.
Снаружи кормушка напоминает почтовый ящик с откидным верхом. Корм можно досыпать в любое время. Также предусмотрено и сито. Сквозь него объедки попадают в ёмкость для утилизации. Чистый корм подают к окошку для раздачи диаметром 100х100 мм.
Совет!
Утилизатор всегда должен быть чистым, чтобы избежать размножения вредных бактерий.
Ёмкость для грубого корма
Ёмкостей для грубого корма должно быть две: на нижнем и на верхнем этажах. Кормушка сделана в виде откидного бункера. В него помещают ветви и сено. При утяжелении верхней крышки корм всегда находится близко к сетке, в свободном доступе для животных.
Какие инструменты и материалы используют
При создании крольчатника своими руками понадобятся следующие инструменты и материалы.










В этот список входит:
- Ножовка по дереву;
- Набор отверток;
- Рубанок для обработки деревянной поверхности;
- Молоток;
- Пассатижи;
- Металлический уголок для усиления конструкции;
- Деревянные бруски для создания каркаса;
- Рубероид или шифер. Эти виды материалов применяют для кровли;
- Сетка. Размер ячеек должен быть среднего диаметра;
- Саморезы;
- Шуруповерт;
- Металлическая фурнитура.

Порядок работы:
Деревянную основу предварительно обрабатывают с использованием рубанка. Некоторые рукодельники предпочитают применять наждачную бумагу. Все острые грани и углы удаляем, чтобы не травмировать животных.
Внутренние стенки оформляем тонкой оцинкованной сталью. Она защитит древесину от острых зубов кроликов. Дело, в том что животные грызут любые мягкие поверхности. Металлическая основа продлит эксплуатационные качества клетки.
Стены и каркас чаще всего изготавливают из тонких брусьев, сетки или фанеры. Высота основы клетки для кроликов должна быть не менее 75 см. Данное требование касается крольчатников, которые будут располагаться за пределами помещения
Если они будут находиться в закрытом пространстве, то их габариты могут быть до 45 -50 см.
Особое внимание необходимо уделить устройству крыши. Для этого используют шифер, рубероид
Эти виды материалов не пропускают влагу и яркие солнечные лучи. К тому же они защищают от ветра и резкого понижения температуры. Использовать тонкий металл не рекомендуют. Он сильно нагревается и быстро остывает.

Что такое МИАКРО
МИАКРО – это аббревиатура Мастерская изобретателя акселерационного кролиководства. По другой версии означает Михайловское Акселерационное кролиководство.
Правильное содержание, считал мастер, в его клетках круглогодового назначения. Не берусь осмеивать теорию, ведь было проведено несколько научных экспериментов и даже защищена диссертация на эту тему. Но мастеру явно не хватало научных знаний, а посему акселерация кроликов так и осталась теорией мастера. Михайлов по основному образованию физкультурник, тренер, иногда снимался в эпизодических ролях в кино. Он не был ученым в общепринятом понимании. Хотя технология МИАКРО известна без малого сорок лет, тем не менее имеет сторонников и противников. Я, не отношу себя ни к одному лагерю. В этой статье представлен критический анализ технологии миакро с плюсами и минусами. Решите сами, искать чертежи клетки или придумывать что то свое, используя рациональные моменты принципа акселератов, сформулированные народным академиком.
Полезные советы
Несколько полезных советов по изготовлению и обустройству маточника:
- Можно не делать дверцу для осмотра гнезда, а прикрепить на петли крышу. Так удобнее осматривать и чистить сооружение.
- Чтобы конструкция прослужила как можно дольше, её дно следует оббить листом оцинкованного железа. Это предотвратит гниение.
- Если самка беременная впервые, то лучше всего выстелить пол гнезда соломой, так как по неопытности она может забыть об этом.
- Для создания уюта в гнезде можно положить вату.
- Не рекомендуется делать лаз на большой высоте, так как подросшие и окрепшие крольчата не смогут покинуть маточник, чтобы справить свою нужду.
- Следует регулярно проводить уборку и дезинфекцию.
- Не утепляйте стены сооружения стекловатой, так как даже через самую маленькую щель она может проникнуть во внутрь и навредить крольчатам.
- Солома также не лучший вариант для утепления из-за недолговечности.
Как определиться с чертежом
Общая высота крольчатника составляет около 1,5 метра. Сюда входит высота ножек клетки, примерно 1 метр, и сама конструкция – полметра. Ширину делают произвольную, в зависимости от места установки; глубину выдерживают около 75 см, с учетом установки сетки у задней стены. Крышу располагают под небольшим уклоном, уходящим вглубь.

Составляя чертежи крольчатников, следует учесть некоторые нюансы:
- Для большой группы молодняка ширину клетки делают большей, до 3-х метров, соответственно и глубину также увеличивают.
- Маточники делают более скромного размера – около 1м² общей площади.
Из каких материалов можно сделать
Планируя сооружение кроличьих клеток, первое о чём стоит задуматься — выбор подходящих строительных материалов. В принципе, для сооружения простой конструкции, способной защитить животных от неблагоприятных внешних факторов, подойдут любые подручные средства.
В строительстве кроличьих ферм используют древесину и металл, оцинкованный профиль, пластиковые элементы, кирпичи, глину и даже промышленные поддоны. Несмотря на то, что для использования подходят практически любые материалы, к их выбору стоит подходить со всей ответственностью.
Древесина
С изготовлением деревянной клетки справится даже начинающий кроликовод
Древесина в строительстве клетки для кроликов используется очень широко. Из неё можно изготовить любые элементы конструкции. Именно из деревянного бруса обычно делают каркас будущей клетки. Популярностью у кролиководов также пользуется пол из деревянных планок.
Основными преимуществами материала являются экологичность и лёгкость обработки. Деревянным элементам можно без труда придать практически любую форму. Не стоит упускать из вида и прекрасные теплоизоляционные свойства древесины: зимой в деревянном крольчатнике будет тепло, а летом — не слишком жарко.
Из недостатков стоит выделить быстрое разрушение. Кролики обожают грызть всё вокруг, поэтому деревянные элементы внутренней отделки клетки быстро уничтожаются грызунами. Кроме того, древесина за счёт своей пористой структуры впитывает все запахи и жидкости, поэтому сплошной пол из дерева класть в клетке не рекомендуют.
Металл
Металл гораздо прочнее дерева, но работа с ним требует иного уровня мастерства
Металл в сравнении с древесиной является более прочным материалом для строительства. Кролики не могут прогрызть металлические элементы, их легко мыть и им не страшны насекомые. Правда, обработка металла требует наличия особых навыков у мастера, а также умения обращаться со специальными инструментами.
Каркас будущей клетки создают из металлических труб. Металл также применяют для внутренней отделки деревянных клеток, чтобы предотвратить прогрызание природного материала. А вот крышу и внешние стены клетки из металла делать не рекомендуется, так как на солнце они могут сильно нагреваться, а на морозе — промерзать, что чревато угрозой здоровью ушастых жильцов.
Оцинкованный профиль
Оцинкованный профиль используют в комбинации с другими материалами
В отличии от цельнометаллических элементов, укрепление или отделка клетки профилем не утяжеляет конструкцию, что особенно важно для переносных мобильных кроличьих клеток
Пластиковые элементы
Пластик лёгок и долговечен, но может выделять токсичные вещества на жаре
Пластиковые трубы могут стать альтернативой деревянному брусу и металлическим трубам. Долговечный и лёгкий материал позволяет создавать универсальные клетки для использования в любых условиях.
При работе с пластиком важно помнить о безопасности животных. Внутренние элементы конструкции, которые могут попасть «на зуб» кроликам, не должны быть сделаны из пластика
Животное может поранить рот или пищевод осколками, а также отравиться синтетическими веществами, входящими в состав материала.
Кирпичи и глина
Кирпичи и глину используют для строительства кроличьих клеток преимущественно в жарких регионах. Кирпичами выкладывают основания для домиков, а глиной промазывают швы. Такая клетка хорошо защищает животных от перегрева, так как кирпич обладает прекрасными теплоизоляционными свойствами.
Сетка
Стены клеток для кроликов делают сплошными, в виде решётки из планок, или изготавливают их из сетки. Наиболее удобным считается вариант с сеткой, которая должна иметь ячейки среднего или маленького размера и быть достаточно прочной.
Шифер
Наиболее практичным материалом для изготовления крыши в кроличьей клетке является шифер. Он прекрасно выполнит защитную функцию, при этом не перегреваясь на солнце и не боясь влаги.
Подручные материалы
Кролики — не самые прихотливые в уходе животные. В качестве временного жилья или в условиях критической экономии подойдут домики, изготовленные из подручных материалов. Изобретательные кролиководы приспосабливают под содержание грызунов старые бочки и контейнеры или же собирают многоэтажные конструкции из промышленных поддонов.
Каждый материал имеет особые свойства, которые могут стать как плюсом, так и минусом. Руководствоваться в выборе следует, опираясь на советы опытных кролиководов, индивидуальные условия (климат, порода животных и др.) и инструкции к популярным чертежам, если вы планируете их использовать.
Как рассчитать размер клетки
Кролиководства – это целая наука. Поэтому в советское время существовали институты, которые занимались научным походом к выведению кроликов. Так вот в одном НИИ были разработаны рекомендации, касающиеся размеров кроличьих клеток.
Оптимально считалось, что клетка для кролика должна быть двухсекционной. В одной секции устанавливали кормушки и поилки, во второй закладывали сено. Оно являлось гнездом для выведения потомства.
Так вот размеры такой клетки были: длина 220-240 см, ширина 65 см, а вот высота передней и задней стенки были разными. Таким способом добивалось сооружение скошенной крыши. Так вот высота передней стенки составляло 65 см, задней 35 см.

Сегодня к размерам кролиководы относятся не так ответственно. Но специалисты считают, что у одного зверька должно быть определенное пространство. И оно не должно быть меньше 0,8 м³.
Порода кроликов
В данном случае подразумеваются такие критерии как: чистота породы, взаимоотношение кролей разных пород и вес, зависимый от видовой принадлежности.

При конструировании жилой площади важно понимать то, какое значение имеет общая нагрузка на опору, выступающую фундаментом. Ведь габариты определенных пород, например, кроликов-великанов и карликовых, требуют точного учета их параметров для удобства содержания.Нужно заметить, что вес также зависит и от половой принадлежности кроля.

Помимо веса, значимым фактором являются взаимоотношения жильцов. Несочетаемость пород (большие не расположены к маленьким) или половая несовместимость (борьба самцов) могут для некоторых кролей иметь плачевный результат.

Кроме того, при разведении кроликов важно соблюдать точность селекционной задачи – выведение новой породы или продолжение существующей.

В целом, кроличьи клетки своими руками сделать совершенно просто, если подготовиться к данному занятию грамотно и выполнять его вдумчиво.





Преимущества многоярусных конструкций
Двухъярусная клетка для кроликов предполагает более сложное конструктивное исполнение, чем обычные одноярусные варианты. Но правильно выполненный проект, в свою очередь, отличается более широким рядом преимуществ, которые с лихвой покрывают затраченные на сборку усилия. К основным достоинствам таких домиков для кролей относятся следующие:
- Экономия места. Клетки с двумя или более ярусами значительно проще разместить даже на небольшом участке.
- Повышенная вместительность. В двухъярусных домиках можно поселить большее поголовье живности, включая молодых, взрослых особей и новорожденный молодняк.
- Такие конструкции все также остаются мобильными. При необходимости их легко можно занести в помещение или на другую сторону участка.
Особенности конструкций
Все клетки для кроликов проектируют, руководствуясь общими принципами, однако у различных видов укрытий существуют свои особенности. Нюансы конструкций зависят преимущественно от пород и особей, которых кроликовод планирует содержать. В любом производительном хозяйстве содержатся одновременно несколько групп кроликов разных возрастов или даже пород.
В зависимости от того, будет кроличья клетка находиться на улице или в помещении, следует выбирать подходящие материалы для строительства и планировать габариты конструкции. Клетки могут иметь от 1 до 3 ярусов и неограниченное количество секций в длину.
Для кроликов различных возрастов (новорожденные, молодняк, взрослые особи) требуются особые условия содержание, соответственно и клетки для них будут отличаться. Например, беременные самки с новорождёнными крольчатами содержатся в особых маточных клетках с гнёздами.
Размер клеток следует планировать таким образом, чтобы животным было достаточно места и простора. Очевидно, что клетки для кроликов-великанов и карликовых особей будут сильно отличаться друг от друга.
В зависимости от размера кроликов
Размер клетки напрямую связан с габаритами будущих жильцов
Оптимальные размеры для просторной клетки, в которой содержат пару взрослых кроликов стандартных габаритов:
- Длина — 120–170 см;
- Ширина — 60–80 см;
- Высота — 50–60 см.
Карликовым и декоративным (до 4–5 кг) кроликам будет достаточно более скромных условий:
- Длина — 70–90 см;
- Ширина — 35–55 см;
- Высота — 30–50 см.
Кроликам-великанам потребуется гораздо больше места:
- Длина — 85–100 см;
- Ширина — 70–80 см;
- Высота — 60–80 см.
Многоярусные клетки
Производительное кролиководство предполагает одновременное содержание большого количества грызунов разного пола и возраста. На помощь кролиководам приходят многоярусные конструкции для содержания животных. Клетки устанавливают как в два, так и в три яруса. Клетки в несколько уровней для кроликов являются капитальными сооружениями, которые, тем не менее, достаточно просто построить самостоятельно.
Популярностью у владельцев кроличьих ферм пользуются многоярусные клетки по чертежам Золотухина. Они имеют ряд преимуществ:
- Вместительность;
- Возможность содержать в одном месте всех представителей кроличьих семей (самок, молодняка и самцов);
- За животными удобно ухаживать;
- Клетки Золотухина достаточно мобильны — их можно перемещать с места на место.
В зависимости от назначения
Если в клетке обитают крольчиха с крольчатами, то им обязательно нужно устроить уединённое место
В зависимости от назначения кроличьи клетки делятся на несколько видов, каждый из которых имеет свои конструктивные особенности:
Стандартная клетка для постоянного содержания. Чертёж такой клетки легко найти в интернете и построить жилище для грызунов самостоятельно
Обратить внимание следует на размеры клетки, которые не должны быть слишком маленькими, и безопасность материалов;
Клетка для разведения должна быть намного просторнее, так как в ней одновременно будут находиться несколько особей;
Особый вид домика для крольчихи с крольчатами или беременной самки называется маточником. Уединённое место и тепло — вот две основные составляющие комфорта беременной крольчихи и её новорожденных крольчат
Как правило, маточник имеет сплошные стены, своеобразный домик, имитирующий тесную норку и приспособления для кормления матери;
Клетка для молодняка соответствует стандартным требованиям, но часто оснащается дополнительным вольером для выгула. Возможность немного размяться благоприятно сказывается на росте и развитии неокрепших детёнышей. Зона для выгула изготавливается из металлической сетки и зачастую предоставляет животным доступ к свежей траве.
В зависимости от климата и времени года
Оптимальная температура вокруг для нормального самочувствия кроликов — 14–16 градусов. Поддержание нормального климата в домиках и защита животных от осадков и ветра — это основные требования к конструкции кроличьих клеток.
В крупных кролиководческих фермах содержание грызунов зимой и летом предусматривает различные виды клеток. Зимние утеплены ОСП или другим волокном, иногда в них проводят водяное отопление.
В регионах с умеренным климатом без резких температурных перепадов можно круглогодично содержать кроликов в одинаковых переносных конструкциях, которые при наступлении первых холодов переносят в закрытое помещение. В летний период такие клетки вновь перемещают на открытый воздух.
Кормушки, поилки и сенник
Важно не только иметь представление о том, как построить клетку для кроликов, но и как правильно оборудовать её изнутри. Кормушка, поилки и сенник – неизменные атрибуты, которые должны присутствовать
При оборудовании поилки важно учитывать тот факт, чтобы она без труда снималась, так как её придётся часто мыть, менять в ней воду. Лучше всего для этого приспособить лотки, изготовленные из металлической полосы
Закрепляют их на дверце клетки или рядом с ней на стене.
Один из наиболее оптимальных вариантов изготовления поилки – с применением канализационных труб. Обрезок этого материала диаметром 10 см. и высотой 8-10 см. используется для оформления «подстаканника». В это кольцо помещается обрезанная 2-литровая пластиковая бутылка. Её обрезать так, чтобы она стала в один уровень с «подстаканником», оставляется только полоска шириной 2-3 см. и длиной 5-7 см.
Видео описание
Как сделать кормушки и поилки для крольчатника из подручных средств, смотрите в этом видеоролике:
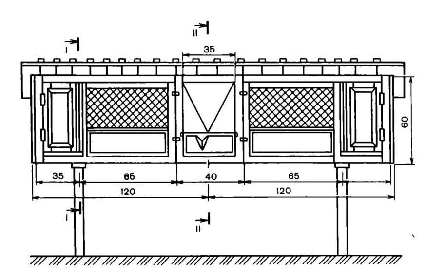
Сенник можно оборудовать между двумя клетками, для чего на этапе строительства смежные стенки делаются скошенными (имеют V-образную форму). Таким способом удобно оформить сенник для самок.
В отделениях, где будут содержаться самцы и молодняк, одну из стен или только её часть делают решетчатой. К ней при помощи петель прикрепляется кусок фанеры, ОСБ, сколоченный из планок щит и т.п. В требуемой позиции он фиксируется посредством верёвки, проволоки или крючка.
Если сбоку места нет, сенник можно оформить прямо на дверце: рядом с поилкой фиксируется ещё и кормушка.
Самодельные кормушки для кроликов выполняются из любых подручных материалов – пластиковых, металлических лотков, деревянных сооружений, вариантов из гипсокартона. Даже кормушка для кроликов из канализационной трубы идёт в ход.
Если её выполнять из дерева, то края обязательно следует оббить жестью.
Хороший вариант – бункерная кормушка для кроликов. Образованная двумя отсеками – ёмкостью и собственно самой кормушкой, такое устройство удобно, ведь в неё изначально можно засыпать много корма. Еда кроликам поступает небольшими порциями. Большая часть корма находится под крышкой, она не пылится и не загрязняется.
Бункерная кормушка для кроликовИсточник selcdn.ru
Полезные советы при строительстве крольчатника
О том, как сделать клетку для кроликов с учётом всех нюансов знают не все начинающие мастера, поэтому при изготовлении строения возможны ошибки.
Так, например, если экономить материал, то это приведёт к тесноте, что негативно сказывается на здоровье и репродуктивности кроликов.
Маточное или гнездовое отделение нужно делать стационарным. Любые закутки способны спровоцировать гибель крольчат в результате давки, так как самка пугается.
А вот при отсадке молодняка рекомендуется использовать клетку со стационарным закутком для крольчат. Небольшая лазейка в отделение размером 12х12 см. даст возможность туда пробираться крольчатам, в то время, как самка пролезть не сможет и не сможет постоянно с ними находиться. В вопросе как сделать кроличьи клетки такой вариант позволяет снизить стрессовость процедуры отлучения потомства от крольчихи.
Видео описание
В этом видео дана пошаговая инструкция, как построить удобную компактную клетку для кроликов:
Коротко о главном
Даже для неопытных мастеров с вопросом как сделать клетку кроликам не возникнет проблем, если чётко придерживаться всех инструкций и рекомендаций.
Для возведения крольчатника сначала определяются размеры будущего строения. Начинать работы желательно с выполнения чертежа. Затем сооружается каркас из бруса.
Следующий этап – оформление пола. Он может быть выполнен из металлического профиля, мелкоячеистой клетки или деревянных реек.
После этого делаются фанерные стены клетки. Завершаются работы оформлением крыши и монтированием поддона, куда будет попадать отходы из клетки.
В готовую клетку устанавливается поилка, кормушка и сенник.
Другие варианты кроличьих домиков
Если предложенные советы недостаточно хорошо описывают картину предстоящих работ, следует обратить внимание на самые популярные разновидности клеток для содержания и разведения кроликов. Ими пользуются опытные фермеры
Семейный блок – трёхсекционная клетка
Чуть более сложным может показаться изготовление трехсекционной клетки для кроликов, чертежи которой представлены во вкладке с фотографиями. Но в таких семейных блоках очень удобно разводить кроликов: в центральном отделении клетки живет крол-производитель, по бокам — самки. Деревянные перегородки между отделениями клетки имеют лазы с фанерными задвижками, предназначенные для того, чтобы можно было легко подсаживать самок для спаривания к самцу и возвращать обратно в свои отделения.
В таких семейных блоках очень удобно разводить кроликов
Каркас можно сбить из брусков, а боковые стенки, заднюю, гнездовые отделения с дверками и перегородки – сделать из широкой вагонки. Для передней стенки используется металлическая сетка. В гнездовых отделениях желательно предусмотреть чердак – свободное пространство между потолком и общей крышей, где крольчихи смогут отдыхать от своего потомства. Дополнительное удобство конструкции состоит в продуманном расположении кормушек и поилок – корм и вода в них не загрязняются, наполнять их можно снаружи.
Мини-фермы Михайлова – простой способ вырастить маленьких крольчат
Одним из наиболее эффективных способов разведения кроликов являются мини-фермы Михайлова, обеспечивающие интенсивное выращивание животных при минимальном уходе со стороны кроликовода
Продуманная конструкция клеток Михайлова предусматривает автоматическое очищение и обеспечение кроликов кормом, подогрев воды в поилках до необходимой температуры (что особенно важно зимой), подогрев маточника, чтобы повысить выживаемость новорожденных крольчат
Изготовить своими руками клетки Михайлова под силу не каждому кролиководу. Но при желании можно собрать сложную конструкцию по схеме, найти которую вы легко сможете в Интернете.
Правильные домики по методике Золотухина
Известный кроликовод Николай Иванович Золотухин уже несколько десятков лет успешно занимается разведением кроликов, столь внушительный опыт помог ему разработать собственную концепцию содержания кроликов в домашних условиях.
Конструкция их достаточно проста, а на изготовление нужны материалы, которые найдутся в хозяйстве почти у каждого
Особенности клеток Золотухина:
- пол в клетках делается сплошным из шифера или досок;
- поддоны отсутствуют;
- узкая полоса сетчатого пола предусмотрена только вдоль задних стенок клеток;
- задние стенки делаются под наклоном, чтобы отходы кроликов с верхнего яруса не попадали на кроликов нижнего яруса;
- нет специальных маточников – крольчиха сама обустраивает гнездо перед родами;
- на дверцах закреплены кормушки для зерна, которые легко переворачиваются наружу для наполнения.
Посмотрев видео во вкладке к статье, вы поймете, как делать клетки для кроликов такого же типа, как у Николая Ивановича Золотухина. Тем более, конструкция их достаточно проста, а на изготовление нужны материалы, которые найдутся в хозяйстве почти у каждого.
Как самостоятельно сделать клетки для карликовых кроликов
Если же вы решили завести дома кроликов в качестве домашних питомцев, вопрос с клетками будет решаться иначе. В зоомагазинах сейчас можно найти разнообразные клетки для кроликов декоративных, но тратиться на их покупку не обязательно – изготовление клетки для домашнего маленького кролика займет совсем немного времени.
Делается клетка для карликового кролика из двух боковых стенок 70х70 см и задней стенки высотой в 55 см, длиной в 100 см. Заднюю стенку нужно закрепить так, чтобы под клеткой получился просвет в 15 см. Прибейте метровые рейки на дно клетки и закрепите поверх них металлическую сетку. На переднюю дверцу также нужно прибить сетку. Смастерите сетчатую крышку на петлях, снабженную ручкой. Под клетку установите поддон – клетка для карликового кролика готова!
http://fermhelp.ru/kletki-dlya-krolikov-dvuxyarusnye-svoimi-rukami/http://mirsadovnikov.ru/124-dvukhyarusnaya-kletka-dlya-krolikov-svoimi-rukami-instruktsiya-chertezhi-i-foto.htmlhttp://cemicvet.mediasole.ru/kletki_dlya_krolikov_svoimi_rukami_chertezhi_s_razmerami_poshagovye_instrukcii_po_izgotovleniyu_raznovidnostey_mihaylova_zolotuhina_dvuhyarusnye_i_prochie_s_foto_i_video
Обязательно ли содержать кроликов в клетках?
Кролики, предназначенные для домашнего и промышленного разведения, нетребовательны к площади, на которой будут содержаться. Во многом это связано с их поведенческими особенностями — на воле в качестве места для отдыха и сна животные используют норы небольшого размера.
Продолжительность светового дня, температура и влажность воздуха играют гораздо большее значение. Эти показатели напрямую влияют как на поведение и здоровье животного, так и на динамику его роста и набора массы. Температура в 12–18 оС и влажность воздуха 60–75% являются оптимальными для содержания большинства пород.
Уличное содержание кроликов благоприятно сказывается на их массе и качестве меха
В условиях домашнего хозяйства кроликов принято содержать двумя способами:
- изолированно — в клетках или шедах;
- свободно — в вольерах или выгулах.
Содержание в клеткахи шедах наиболее распространено, так как это удобно и позволяет выращивать большое количество кроликов (<30 голов) даже на типовом дачном или загородном участке.
Клеточный метод позволяет четко контролировать количество приемов пищи животного, тем самым снизив расход кормов и предотвратив переедание животного.
К тому же содержание в клетках помогает контролировать спаривание кроликов. Разведение животных происходит четко и по плану, который предусмотрел заводчик.
Дополнительно к этому клеточный метод помогает избежать заражения всего поголовья кроликов из-за попадания какой-либо инфекции к одному или нескольким особям в стаде. Содержание в вольере наиболее часто используется на европейских фермах.
Этот способ максимально приближен к естественным условиям, когда животное само обустраивает себе жилище. В отличие от клеточного, вольерный метод более сложен и требует не только большой площади участка, но и постоянного наблюдения за поголовьем.
Клетки от Цветкова
Опытный фермер А. А. Цветков предложил идею двухэтажной мини-фермы для кроликов, состоящей из 4 отдельных секций. Отличительной особенностью таких клеток являются: двегравитационные кормушки, два навесных маточника, оригинальные системы вентиляции и навозоудаления.
Каркас строят из хвойного бруса и обязательно окрашивают белой нитро краской. Для изготовления сенника подойдет влагостойкая фанера, толщиной не менее 8 мм. Изнутри сенник обивается металлической сеткой, он же исполняет роль дверцы в каждой секции.
Все деревянные детали обшивают листовым металлом, конус для сбора навоза покрывают сланцевой мастикой. Для крыши можно использовать шифер или рубероид. Вода в поилках подогревается с помощью кипятильника.
Клетки Раббитакс
Клетки «Раббитакс» бывают разных конструкций и модификаций. Самые простые — это небольшие двухсекционные варианты. Есть и экологические модели, основанные на технологии перенаправления потоков воздуха.
Существуют даже настоящие фермы для кроликов «Раббитакс», в которых одновременно живут и размножаются более 25 особей. В продаже можно встретить огромное количество разновидностей таких клеток. Можно изготовить «Раббитакс» самостоятельно. За основу можно взять чертежи кроликовода И. Н. Михайлова.
Размеры клетки
Дверь для кормления и выгула должна располагаться в разных частях клетки. Двери для откормки делаются из сетки и немного шире. Дверь для выгула изготавливается целиком из дерева, что обеспечивает защиту от солнца, ветра и сквозняков. Край шириной 10 сантиметров необходимо прибить вдоль переднего края места гнездования и сконструирован так, чтобы кролики не выпадали, когда открывается дверь.
Летнее гнездо в маточнике должно оставаться открытым. Сено располагается на полу. Сам маточник ограждается от другой части досками, имеющими ширину 15-20 сантиметров. Когда кролики вырастут, просто уберите доску, и вы получите большую площадь для размещения молодых особей.
Размеры клеток по чертежам Золотухина:
- корпус должен иметь высоту от 1,5 до 1,7 метров;
- ширина — от 2 до 2,3 метров;
- глубина — от 75 до 80 сантиметров;
- ширина сетки — от 15 до 20 сантиметров;
- размер дверей — 40 на 40 сантиметров.
Зимой Золотухин использует материнскую клетку в форме деревянной коробки:
- размеры пола и потолка составляют 40 на 40 сантиметров либо же 30 на 30 сантиметров;
- передняя стенка должна быть по высоте не менее 16 сантиметров;
- задняя стенка должна иметь высоту 26 сантиметров;
- высота входа должна составлять 15 сантиметров.
Такая высота задней стенки необходима, чтобы позволить клетке, подобно кроличьей норе, расширяться внутрь
Во время монтирования маточника уделите особое внимание тому, чтобы нижняя часть входа находилась в контакте с полом. Перед рождением крольчат требуется поместить в маточник сено, так как до 15 дней крольчиха прячет детенышей, закапывая их в подстилку
Размер клетки может изменяться в зависимости от размеров маточника.

Шеды для кроликов
В переводе с английского слово «шед» означает сарай. Шед, по сути — это конструкция из двух — трех ярусов клеток, установленных под одним общим навесом. Вот основные особенности шедов:
- Основа из металла или прочного дерева;
- Сетчатые клетки;
- Размеры 60×3 м;
- Автоматическая подача пищи и жидкости для животных.
Содержание кроликов зимой на улице
Один шед рассчитан на 500 особей, но если кроликовод делает постройку своими руками, размеры могут быть и другими, все зависит от численности поголовья. Шед дает хорошую защиту от ветра и солнца; в клетках такого плана легко поддерживать требуемую температуру и влажность воздуха. Это действительно универсальное жилище, подходящее как для молодняка, так и для взрослых особей.
Важно! Если шед стоит на улице, навес должен быть особенно прочным, чтобы в домики не попадала уличная пыль. Шедовое содержание кроликов имеет много преимуществ: доступность, удобство и простота ухода за животными
Сделать шед для кроликов своими руками очень просто
Шедовое содержание кроликов имеет много преимуществ: доступность, удобство и простота ухода за животными. Сделать шед для кроликов своими руками очень просто.

























































